一、受理范围
1.本行政区内采集、出售、收购国家二级保护野生植物的公民、法人或其他组织。
2.符合下列条件之一的单位可以提出申请:
(1)进行科学考察、资源调查,应当从野外获取野生植物标本的;
(2)进行野生植物人工培育、驯化,应当从野外获取种源的;
(3)承担省部级以上科研项目,应当从野外获取标本或实验材料的;
(4)因国事活动需要,应当提供并从野外获取野生植物活体的;
(5)因调控野生植物种群数量、结构,经科学论证应当采集的。
3.具有下列情形之一的,不予受理:
(1)申请人有条件以非采集的方式获取野生植物的种源、产品或者达到其目的的;
(2)采集申请不符合国家或地方有关规定,或者采集申请的采集方法、采集时间、采集地点、采集数量不当的;
(3)根据野生植物资源现状不宜采集的。
二、办理依据
1.《中华人民共和国野生植物保护条例》(国务院令第204号)第十六条第二款:采集国家二级保护野生植物的必须经采集地的县级人民政府野生植物行政主管部门签署意见后,向省、自治区、直辖市人民政府野生植物行政区域主管部门或者其授权的机构申请采集证。
2.《中华人民共和国野生植物保护条例》(国务院令第204号)第十八条规定:出售、收购国家二级保护野生植物的,必须经省、自治区、直辖市人民政府野生植物行政主管部门或者其授权的机构批准。
三、实施机关
本许可实施机关为禄丰市行政审批局。
四、审批条件
1.权属清楚或来源合法;
2.采集、出售、收购、利用目的明确、合法;
3.采集城市园林或者风景名胜区内的国家二级保护野生植物的,须先征得城市园林或者风景名胜区管理机构同意。
五、受理地点
云南省楚雄州禄丰市金山镇金山南路74号禄丰市林业和草原局办公楼一楼湿地与自然保护地管理股办公室
办公时间:法定工作日8:00—11:30,14:30—17:30
交通方式:市内可乘坐3车路公交车到电力大厦站下车
六、申请材料
序号 |
提交材料名称 |
原件/复印件 |
纸质/电子文件 |
份数 |
新办 |
1 |
提交国家二级保护野生植物的采集、出售、收购许可申请书 |
原件 |
纸质 |
1 |
√ |
2 |
申请人资质证明材料(个人提供身份证复印件,法人提供营业执照复印件,社会团体和企业法人提供法人机构代码证书复印件) |
复印件 |
纸质 |
1 |
√ |
注:复印件应选用A4纸张,同时带原件(查验)。
七、审批时限
法定时限:无
承诺时限:10个工作日。
八、审批收费
不收费
九、共同审批与前置审批
禄丰市农业局负责现场勘查评估。
十、审批流程
(一)申请
1.办理地点:禄丰市人民政府政务服务中心3楼(地址:禄丰市金山镇新宿大街与世纪大街交叉口)
2.乘车路线:禄丰市市城内可乘坐2路、3路、7路公交车到禄丰市金源街政务服务中心下车即可。
3.网上大厅:云南省政务服务网上大厅(http://ynzwfw.yn.gov.cn)进行在线办理。
4.办理时间:法定工作日8:00~11:30,14:30~17:30。
(二)受理
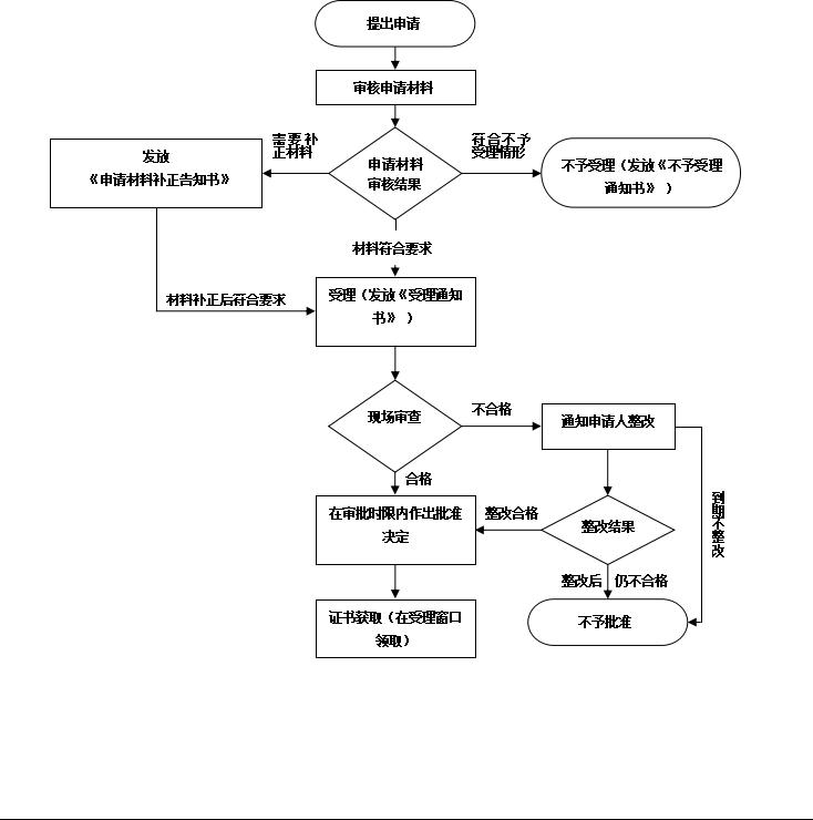
禄丰市政务服务管理局在网上收到企业申请后,在1个工作日作出决定。对申请材料符合要求的,准予受理。对申请材料不符合要求且可以通过补正达到要求的,将当场或者在5日内向企业发送《申请材料补正告知书》一次性告知,逾期不告知的,自收到申请材料之日起即为受理。对申请材料不符合要求的,将作出不予受理的决定,并发出《不予受理决定书》。
(三)现场审查
受理后5个工作日内对现场进行审查,审查合格的,报行政审批局作出批准决定。现场审查时间和单位整改的时间不计算在内。
(四)审批发证
行政审批局在5个工作日内对现场审查意见进行审核,作出是否批准的决定。予以批准的自作出批准决定之日起5日内向申请人颁发许可证;不予核准的应当书面告知申请人,并说明理由。
十一、审批服务
(一)咨询方式
1.现场咨询:禄丰市林业和草原局(禄丰市金山镇金山南路74号)办公楼一楼湿地与自然保护地管理股办公室
邮政编码:651299;
电子邮箱:lfdzgy@163.com;
2.电话咨询:工作时间拨打0878-4122807进行咨询。
3.网络咨询:云南政务服务网(网址:https://zwfw.yn.gov.cn)
(二)咨询回复
通过现场和电话咨询,当场回复。
(三)办理进程查询
现场查询:禄丰市林业和草原局湿地与自然保护地管理股(通讯地址:云南省楚雄州禄丰市金山镇金山南路74号办公楼一楼)
网络查询:云南政务服务网(网址:https://zwfw.yn.gov.cn)
(四)获取办理结果
审批证件为:《采集、出售、收购国家二级保护野生植物审批》
由政务服务管理局通知申请对象现场领取相关文书。无法送达文书时,应通过网上或电话通知申请人现场领取。
(五)监督投诉
现场投诉:禄丰市林业和草原局(禄丰市金山镇金山南路74号)三楼局办公室,电话:0878-4122807。
电话投诉:市政府热线0878-12345。
禄丰市政务服务管理局电话:0878-6019289。
禄丰市纪委、监察委电话:0878-4121003。
网上投诉:云南政务服务网(网址:https://zwfw.yn.gov.cn)
信函投诉:收件人:禄丰市纪委、监委派驻林草局纪检组;通讯地址:云南省楚雄州禄丰市金山镇金山南路74号三楼局办公室;邮政编码:651299;电子邮箱:lflyjbgs@126.com。
(六)行政复议或行政诉讼
自知道该具体行政行为之日起六十日内向禄丰市人民政府提出行政复议,或六个月内依法向楚雄市人民法院提起行政诉讼。
十二、文书表单及办事指南获取
相关文书表单及办事指南可到禄丰市电子政务门户网站下载(禄丰市电子政务门户网站——服务大厅——网上办事——禄丰市行政审批局——采集、出售、收购国家二级保护野生植物审批——办事指南——表格下载)或者在受理现场直接领取。
十三、流程示意图
详见附件:核发国家二级保护野生植物的采集、出售、收购许可办事流程示意图
